Product number:

PROD224

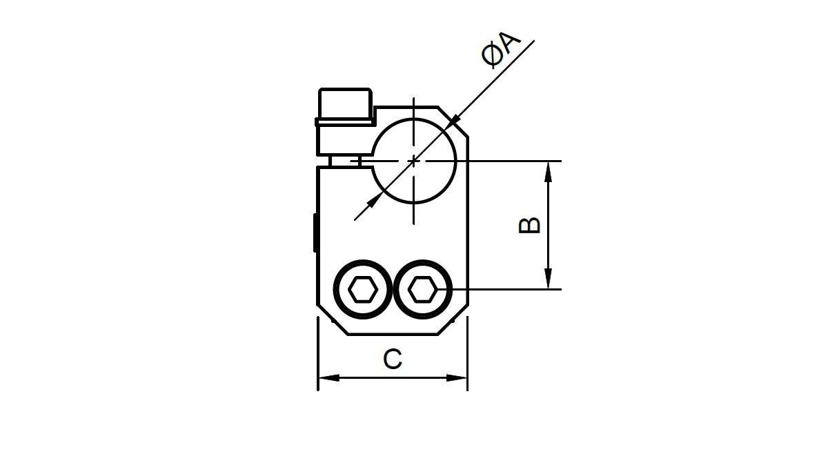
ACH - Angle Clamp - Heavy Duty

Roborex
From €26,57Available in stock
Files
Images
Specification

Heavy duty clamp.  

Minimises deflection due to wrap around connection.